卡罗拉销量突然暴跌 月销量不到巅峰时期十分之一
丰田卡罗拉,这个世界销量的冠军车型,正在静悄悄的在中国消亡。哪怕它的双擎车型依旧是专车司机的最爱,但在零售市场的惨淡销量已经超出了人们的想象力。

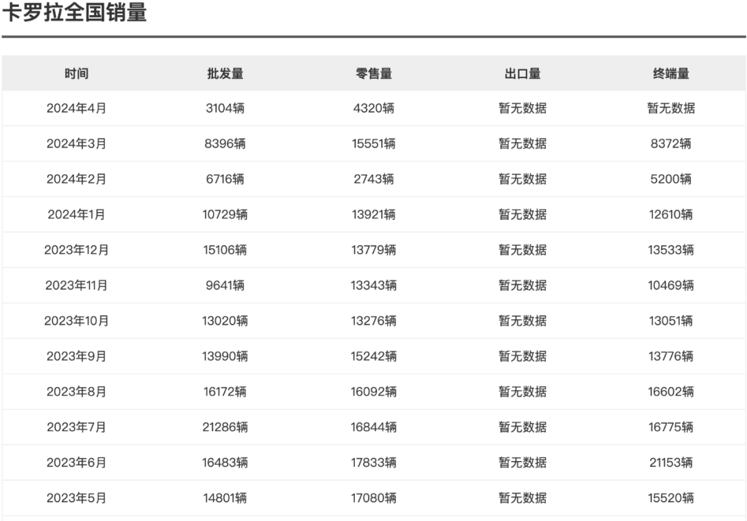
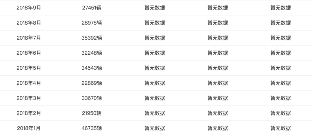
4月份,虽然卡罗拉的断崖式下滑,从3月份的15551台,暴跌到4320台。要知道卡罗拉在2018年1月销量高达46735台。

也就是说,2024年4月份的卡罗拉销量还不到2018年的1月份的10%。即使在2018年以后,卡罗拉再也没有冲上过4万台大关,但也保持着3万台左右的月销量。

到2022年6月,还有过一次3.8万台的批发销量成绩(零售3.3万台)。但在这之后,卡罗拉的销量就开始逐月下滑。
直到2024年的2月份,卡罗拉的零售销量仅为2743台,当时正值春节,只有半个月的销量可以理解,但没想到的是4月份销量仅有4320台。
那么卡罗拉的销量都去哪儿了?

很显然,丰田卡罗拉的销量基本上都被比亚迪吃干抹净了,4月份,比亚迪秦PLUS的批发量高达50557台,而零售量也高达46314辆。
而比亚迪秦在最近两年的月销量始终保持在2万台以上,4万台以上的销量非常常见。如果仔细观察,你会发现比亚迪秦吃掉的全是“马路三大妈”的市场。

虽然比亚迪秦是一款插电混动轿车,在技术上远远不如丰田双擎HEV。但在使用场景方面,比亚迪秦的插混系统要比丰田双擎HEV更适合国人。
无论是55KM纯电续航的入门级,还是110KM纯电续航的高配车,比亚迪秦PLUS都能做到“家用通勤不加油”。
而插混的好处就是,如果要远游,比亚迪秦可以轻松做到一箱油1000KM的续航里程。
如果说比亚迪秦还有缺点,那就是产品稳定性不如丰田卡罗拉。但是7.98万的起步价,就能享受拉罗拉顶配都买不到的配置和续航,用户就很难不选择秦了。

更关键的是,卡罗拉的双擎版本官方指导价依旧在13.18万起。即便终端优惠再给力,也只能降至10万左右。而10万几乎可以买到秦PLUS的高配车了。

而三大妈的另外两位,雷凌的定价与卡罗拉几乎完全一致,只有轩逸依靠低配低价,能将终端售价降至6万以内。因此从4月份榜单不难发现,能够上榜的老牌日系车只剩下轩逸一款车了。
预测一波,如果丰田卡罗拉和雷凌不进行一波大降价,很可能从此退出中国主流市场。(文/白希文)
本文由「
贵州之窗 」 原创或整理后发布,欢迎分享和转发。
原文地址:
https://www.guizhouzc.net/qiche/19109.html 发布于
2024年5月20日